电子技术应用1976 直升机机载电子设备CP1976音频控制盒工作原理-G

小编头像

小编

管理员

发布于:2025年05月05日

96 阅读 · 0 评论

直升机机载电子设备CP1976音频控制盒工作原理-G

直升机机载电子设备CP1976音频控制盒虚拟仪表试验器设计-8

直升机机载电子设备CP1976音频控制盒工作原理-G

编写:贺军

概述:

CP1976()音频控制盒是安装于装备多座椅直升机内的一种音频信号控制装置,它的音频控制面板允许实现机内互相通信和对无线电设备单元的控制操作。

“直升机机载电子设备CP1976音频控制盒虚拟仪表试验器”是用于对“CP1976音频控制盒”各项技术指标进行检测试验的装置。

“直升机机载电子设备通用型综合检测试验器”由四个部件组成:

1)、机载电子设备试验综合控制器 1台

2)、无线电综合测试仪CMS-57 1台

3)、机载电子设备检测矩阵继电器交换箱 1个

4)、PJF-2型(CP1976音频控制盒)连接电缆 1条

“直升机机载电子设备CP1976音频控制盒虚拟仪表试验器”组合连接方式如图所示:

“直升机机载电子设备CP1976音频控制盒虚拟仪表试验器”虚拟化仪表屏幕如图所示:

直升机机载电子设备CP1976音频控制盒虚拟仪表试验器设计-8

直升机机载电子设备CP1976音频控制盒工作原理-G

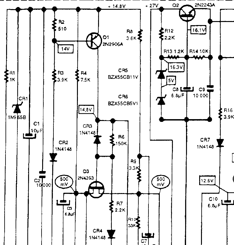
当操作员启动无线电推压开关通话控制时,将P1的端子6接地。

如果电子门打开,由桥式电阻R19和R20确定的Q5电位降低,Q5晶体管被锁定,AF不流动。

4)、No.2电子门

No.2应急操作电子门,由飞机+28V-2线P13端提供。

由TB推通话控制打开的电子门可以通过优先的无线电推话控制关闭。

它配有由Q1控制的场效应晶体管Q3,操作与1号门相同,但有一些电路指标。

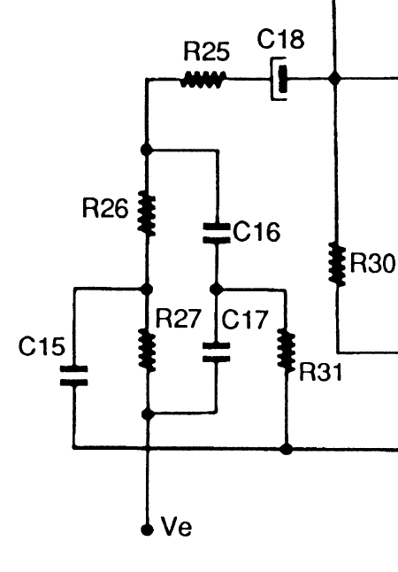
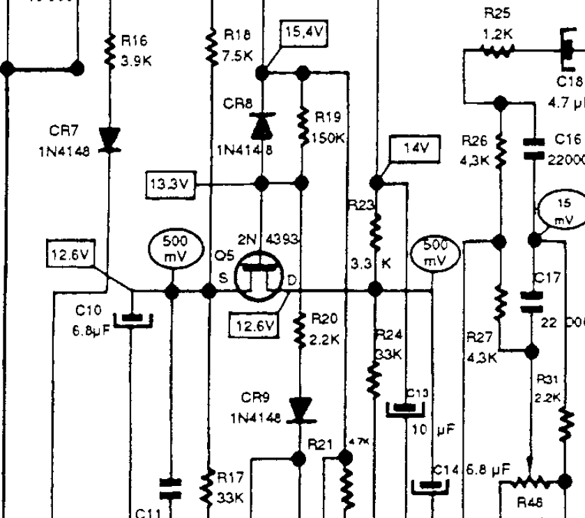
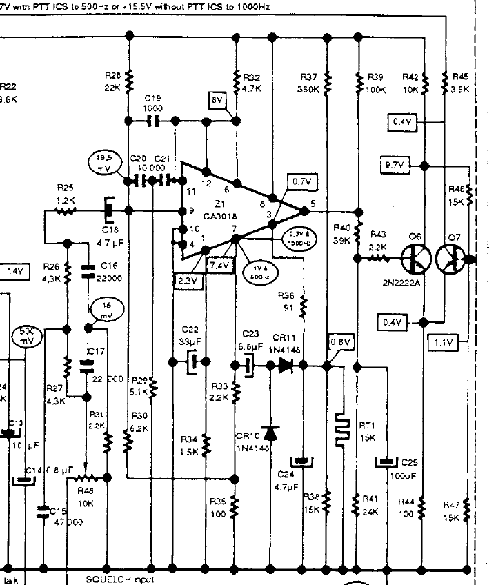
5)、探测器放大器-图16和图17

探测器放大器由低通放大器、探测器级、直流放大器和触发级组成。

通过由四个晶体管Q1到Q4配置的集成电路Z1进行放大保护。

输入信号应用于一方面R26、R27、C15和另一方面C16、C17和R31组成的双T滤波器。

该滤波器的截止频率为1700Hz;开启频率被设置为大约500Hz。

然后将选择的信号Z1的端子9发送到放大器级Q1-Q2。

第二个T滤波器,由C20、C21和R29组成,与由C19保护的电容反馈相关联,防止频率超过2000Hz的信号升高。该装置使信号减弱约30dB。

在放大器级和检测级之间放置了一个配备了Q3的自适应级。

通过二极管CR10和CR11进行检测:滤液通过C24提供。

级Q4安装为开关直流放大器:在静止时处于锁定状态,面对端子3的检测正电压,变成流体。

在存在检测电压时,电容器C25通过R40和Q4快速放电。

触发器Q6-Q7在此时改变状态,Q6处于锁定状态,Q7变成流动状态。这将控制电子门。

如果输入信号Ve被抑制,Z1的晶体管Q4立即锁定。C25通过R39产生电荷,时间常数约为。1 sec.

在这个秒的时间之后,触发器改变状态,从而驱动电子门的关闭。

附图1:

附图2:

附图3:

附图4:

附图5:

附图6:

附图7:

附图8:

附图9:

附图10:

直升机机载电子设备CP1976音频控制盒工作原理-D

直升机机载电子设备CP1976音频控制盒虚拟仪表试验器设计-5

直升机机载电子设备CP1976音频控制盒工作原理-D

编写:贺军

概述:

CP1976()音频控制盒是安装于装备多座椅直升机内的一种音频信号控制装置,它的音频控制面板允许实现机内互相通信和对无线电设备单元的控制操作。

“直升机机载电子设备CP1976音频控制盒虚拟仪表试验器”是用于对“CP1976音频控制盒”各项技术指标进行检测试验的装置。

“直升机机载电子设备通用型综合检测试验器”由四个部件组成:

1)、机载电子设备试验综合控制器 1台

2)、无线电综合测试仪CMS-57 1台

3)、机载电子设备检测矩阵继电器交换箱 1个

4)、PJF-2型(CP1976音频控制盒)连接电缆 1条

“直升机机载电子设备CP1976音频控制盒虚拟仪表试验器”组合连接方式如图所示:

“直升机机载电子设备CP1976音频控制盒虚拟仪表试验器”虚拟化仪表屏幕如图所示:

直升机机载电子设备CP1976音频控制盒虚拟仪表试验器设计-5

直升机机载电子设备CP1976音频控制盒工作原理-D

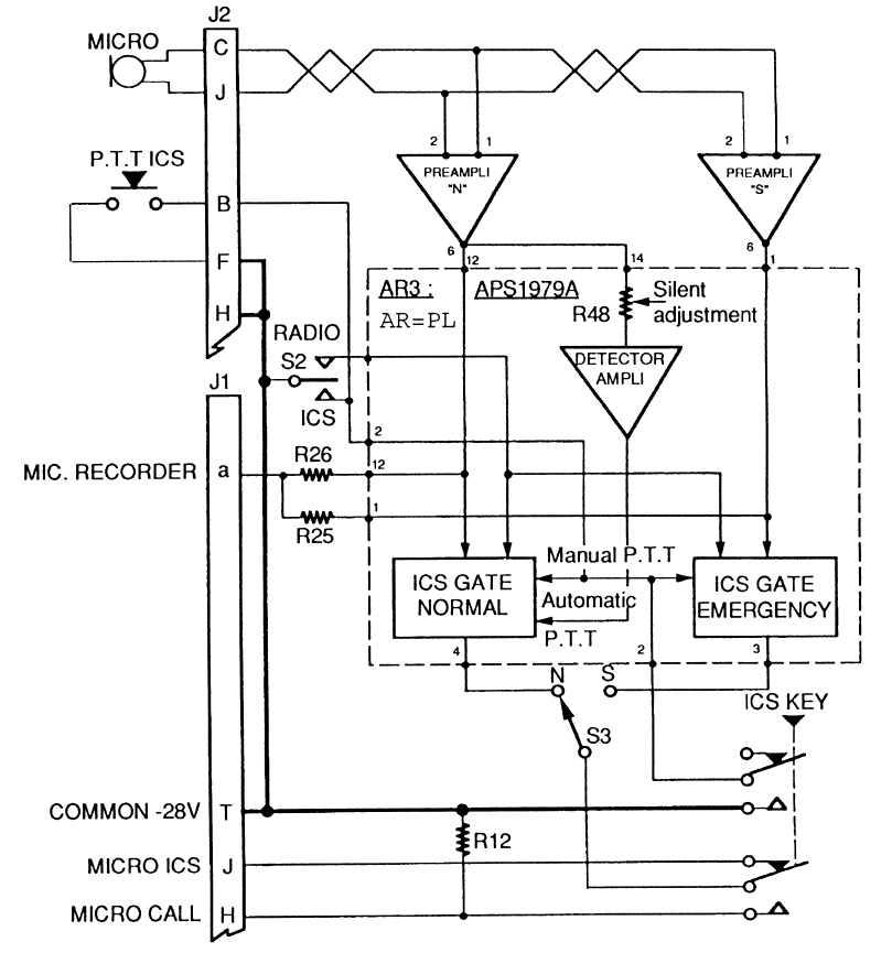
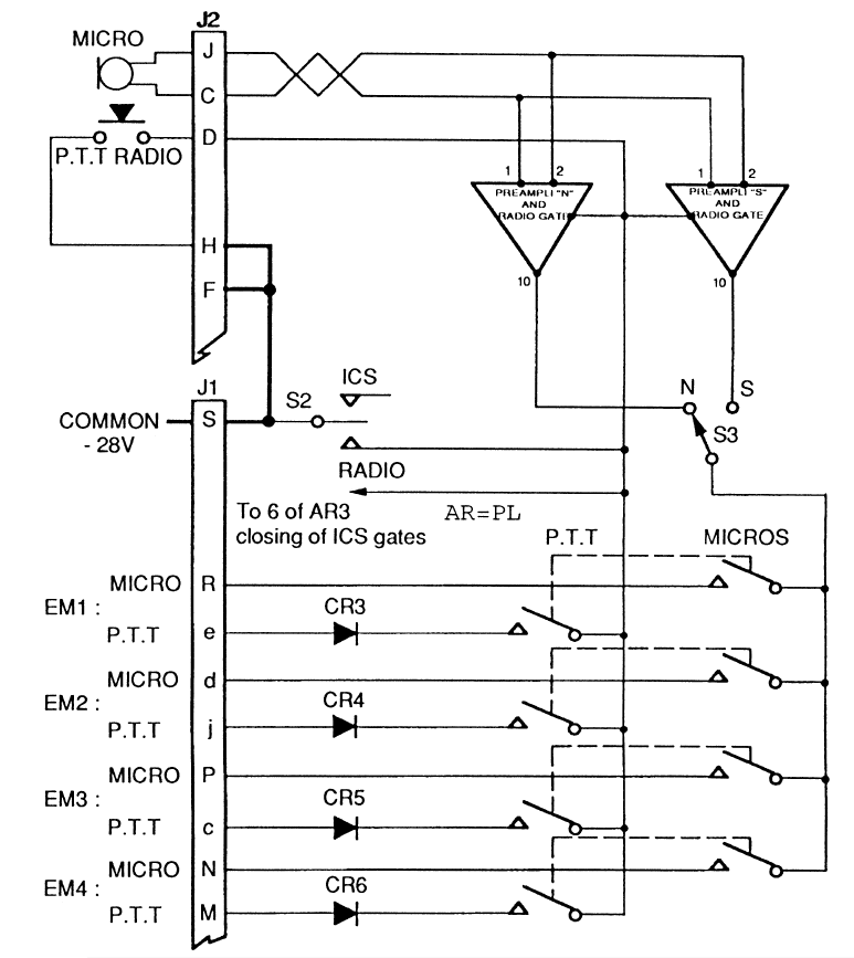
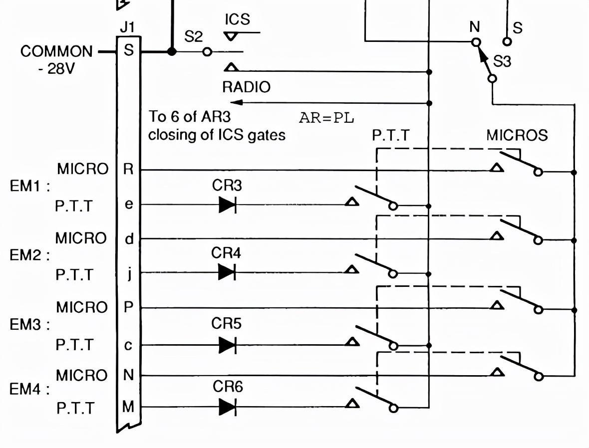
E、无线电传输电路-如图11所示:

无线电传输电路图11:

麦克风被连接到电气接头J2的端子J和C上。

麦克风电压直接应用于连接在模块AR1或PL1和AR2或PL2上的两级预放大器的输入端口上。

注:基本安装采用标准耳机设备操作,低电平,高阻抗Hz=75欧姆。

HN高电平和HZ和BZ,低电平麦克风适应是在模块AR1或PL1和AL2或PL2电平,在预放大器级输入,通过磁带利用通道选择所需的电路。

当无线电推压通话控制被强制操作以执行无线电传输时,选定的放大信道无线电门被打开。

放大器麦克风信号出现在工作中的模块AR1或PL1或AR2或PL2的输出端子10处。

我们有两个相同的麦克风预扩增通道,分别位于(正常)或(紧急情况)。

所选的麦克风信号发送到按钮开关S1触点(键盘),根据选择出现在音频控制面板对应的麦克风输出,在连接器J1上。

无线电一键通话控制还可以通过按钮开关S1和二极管CR3到CR6的选定触点来控制飞机发射机的一键通话电路。

在无线电传输过程中,无线电推通话控制关闭模块AR3或PL3(终端6)的TB门,从而堵塞对讲机放大通道。

注意:无线电推讲控制装置S2并联连接在飞机上的外部控制装置上。

F、对讲机传输电路-如图12所示:

对讲机传输电路图12:

1)、概述:

对讲机传输电路包括:

- TB正常对讲机传输

- 内部通话紧急对讲机传输

- 呼叫对讲机传输

2)、TB是正常的对讲机传输

在正常操作(S3在“N”位置)中,TB传输可以自动(内部通话),或由手动TB推压通话控制触发。

在1 TB自动操作时,闸门开启由探测器放大器控制。

当频率低于或等于500Hz的麦克风信号达到与设备调整期间实现的预调整对应的电平时,检波器放大器就会打开门。

在内部通话操作中,内部通话门的开启由内部通话推压键来控制。此操作还可以纠正探测器放大器的操作缺陷。

按钮开关S1的TB键处于静止位置。

麦克风预放大电路与在无线电传输中使用的电路相同,除了不使用的无线电门。

放大器麦克风信号出现在模块AR1或PL1的输出端6处。

然后,这个信号一方面被发送到TB门的输入端,另一方面,也被发送到将打开这个TB门的探测器放大器。

TB门输出端的麦克风信号通过选择开关S3发送至麦克风、机内通话和TB键的静止触点。

3)、紧急内部讲机传输

在紧急操作中(S3定位)时,通过手动推压通话控制启动变送器。

麦克风预放大电路与在无线电传输中使用的电路相同,除了不使用的无线电门。

输出放大的麦克风信号,模块AR2或PL2的端子6。

然后,该信号被发送到2 TB门输入,由手动TB推通话控制控制端口。

出现在2TB门(端子3)输出处的麦克风信号通过位于S3的开关发送到开关(J子TB)的线路。

4)、呼叫对讲机传输

CALL对讲机传输由操作按钮选择开关S1的TB键的操作员控制。

放大电路与TB对讲机传输操作中使用的电路相同。

出现在TB门输出处的麦克风信号通过定位开关S3发送到音频控制面板(J端H)线,以及TB键的工作触点。

5)、麦克风信号录音:

在放大器输出处的麦克风信号被记录在通过固定电阻R26和R25连接到连接器J1的端子a上的磁带录音机上。

相关问答

...台 电子 计算机说明科技进步队人类社会发展有何重大影响_作业帮

[最佳回答]1.欧洲工业革命和二战对世界格局的影响,从地区上来看,能源消费目前大约是分了三个消费中心.一个是北美,以美国为主、加拿大,北美地区大约消费全实...

华北电力大学(保定) 电子 与通信工程系怎么样?设有哪些专业? ...

[回答]~接下来我为大家简单介绍一下我们华北电力大学(保定)的电子与通信工程系开设的专业以及研究情况专业设置:电子科学与技术、信息与通信工程、学院简...

景德镇陶瓷大学机械 电子 工程学院怎么样?设有哪些专业? 申请方

[回答]~接下来我为大家简单介绍一下我们景德镇陶瓷大学的机械电子工程学院开设的专业以及研究情况专业设置:机械设计制造及其自动化,材料成型与控制工程,...

【材料一: 1976年 乔布斯和朋友在自家车库成立了苹果公司,启...

[最佳回答](1)抓住材料中的关键句“他的每一款产品都会给电子产品带来一场革命”,可见,苹果公司善于技术创新;“2009年推出新款iPhone,是历代iPhone中性能最好...

大学哪些专业与 电子银行 业务相关 - 173**** 1976 的回答 - 懂得

金融学,会计学电子银行业务相关的大学专业,如果是前台针对客户,主要是金融类经济类财会类。如果是后台搞技术,主要是计算机,软件,网络工程这些专业...

光纤的 应用 领域有哪些?

集成光器件为了全面提高光纤通信传输技术的应用水平,必须要实现光器件的集成化目标,这也是其余的发展趋势得以实现的关键前提之一。在互联网技术高速发展的背...

股票书籍最全的 电子 书?

1、《聪明的投资者》作者:本杰明•格雷厄姆本杰明•格雷厄姆(1894~1976年)美国经济学家和投资思想家,投资大师,“现代证券分析之父”,价值投资理论奠...

苹果有哪些 电子产品 ?油炸一下怎么样 - 懂得

苹果公司生产的电子产品有iPhone手机、iPad平板电脑、Mac电脑、AppleWatch智能手表、AirPods无线耳机、AppleTV等。不建议油炸电子产品。苹果公司(...

1976 年贝尔发明了什么?

突然沃森特听到有人讲:“沃森特先生,快来呀!我需要你!”原来贝尔在操作时,不小心把硫酸溅到脚上,由于疼痛,他情不自禁地对着话筒喊,这竟成了人类用电话机...

景德镇陶瓷大学机械专业?

现在叫景德镇陶瓷大学机械电子工程学院。创办于1976年。拥有机械设计制造及其自动化、材料成型与控制工程、机械电子工程、自动化、电子科学与技术、电子信息...

标签:

相关阅读