电子式压力开关应用 压力控制器及其应用

小编头像

小编

管理员

发布于:2026年04月14日

89 阅读 · 0 评论

压力控制器及其应用

压力控制器是工业过程测量与控制系统中控制压力的一种专用仪表,工程中通常称作压力开关。它是用压力作为控制信号的电开关。

高压控制器:压缩机排压过高断电停车,消除产生高压的原因后,需手动复位才能使压缩机启动。(故障+报警)

低压控制器:吸气压力低到下限时断电停车,吸气压力回升到上限时,控制压缩机通电启动。(正常、无报警)

高低压控制器:将高压继电器和低压继电器组合在同一壳体内,完成二者功能。

根据工作原理分为以下两大类:

1、机械式压力控制器(JJG544规程针对);

2、电子式压力控制器。

电子式压力控制器:使用在工控控制要求比较高的系统上。这种压力控制器是在数字压力计的基础上,利用继电器输出信号,进行上下限控制。控制点可以自由设定,迟滞小,抗震动,响应快,稳定可靠。利用回差设置可以有效保护压力波动带来的反复动作,保护控制设备,是检测压力、液位信号,实现压力、液位监测和控制的高精度设备。

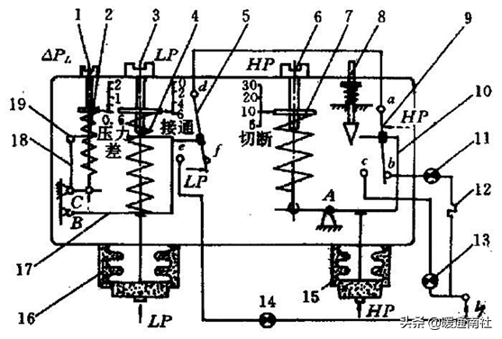
机械式压力控制器:通常称压力开关,为纯机械形变导致微动开关动作。工作原理:当系统内压力高于某一个设定压力计时,不同的压感元件(弹簧管、膜片、膜盒、波纹管、活塞等)的自由端产生位移,通过链接导杆推动开关内碟片瞬时发生移动;当压力降至额定的恢复值时,碟片瞬时反向移动,开关自动复位,最终输出一个开关量的电信号。

常用压力控制器外观图:

感压元件分类:

元件类型:弹簧管、膜片、膜盒、波纹管、活塞等。

工作介质:气体、液体、气液两用型三种。

测量范围:压力、真空和压力、真空三种。

开关元件分类:

按开关类型:磁性开关、水银开关、微动开关等。

按开关形式:常开式和常闭式两种。

按触电调节方式:两位式和三位式两种。

压力控制器分类:

按设定点:设定点可调型和设定点不可调型两种。

按切换差:切换差可调型和切换差不可调型两种。

调节方法:

单独调节主调弹簧4,使预紧力增加,吸入压力上限(接通)、下限(切断)同时增加。单独调节幅差弹簧2,使预紧力增加,下限降低,上限不变。

低压断开压力=接通压力-幅差压力。

压力值的确定:

高压断开压力(上限):参照最高工作压力(冷剂46℃对应的饱和压力)。

低压断开压力(低压下限):蒸发温度减去5℃对应的饱和压力(不小于10kPa)。

低压闭合压力(低压上限):适当低于冷库温度上限对应的饱和压力。

测定方法:慢慢关小吸入截止阀,停车时吸入压力表的读数为低压下限,重新启动时的读数为低压上限。慢慢关小排出截止阀,停车时排出压力表的读数为高压断开压力。

压力控制器使用时应注意事项:

(1)适用介质,有的压力控制器只适用于氟利昂制冷剂,有的则氨、氟通用;

(2)触头开关的容量,以便正确进行电气接线;

(3)正确进行压力设定和差动值设定。

(油)压差控制器:用润滑油泵吸排压差作为控制信号的电开关,当压差小于设定值时,使压缩机停车,起保护作用。

例,JC3.5型压差控制器参数及说明:

出厂接380V电源接头。若选用220V电源,将D1—X接线拆除,把X—D2接通,使降压电阻9短路。

调整方法:

1.转动调节轮4改变弹簧3张力,可改变压差调定值。

2.压缩机正常运行时,按下试验按钮6,达到延时时间(60±20s)后应停车。

3.运行时调低滑油压力,压差开关动作时,润滑油压力表和曲轴箱压力表的差值为压差继电器的压差调定值。

油压差控制器在安装使用时应注意:

(1)高、低压接口分别接油泵出口油压和曲轴箱低压,切不可接反。

(2)控制器本体应垂直安装,高压口在下,低压口在上。

(3)油压差等于油压表读数与吸气压力表读数的差值,不要误以油压表读数位就是油压差。

(4)油压差的设定值一般调整为0.15 ~ 0.2MPa。

(5)采用热延时的压差控制器,控制器动作过一次后,必须待热元件完全冷却(需5min左右)、手动复位后,才能再次起动使用。

水泵压力控制器应用:

控制过程:

连接示意图:

压力控制器检定周期一般不超过一年。

调试压力控制器时,首先需要了解自己使用的切换值是上切换值还是下切换值,对于切换差可调的压力控制器是否上下切换值需要同时满足要求。简单的说就是,需要压力上升时动作还是需要压力下降时动作或者是两者都需要满足。

不少类型控制器有切换值刻度窗口和切换差刻度窗口,但这类控制器的刻度窗口只能做为大致观测使用,切记不能作为调整设定点的标准和依据。

设定值为上切换值的调整方法:

选用设定范围在(0.05~2.5)MPa的控制器,要求上限切换值为2.0MPa。

1.松开锁紧器,将控制器旋入校验台的螺纹接口上;打开盖板,将电缆穿过电缆接口接入端子板,电缆另一头接上万用表;

2.加压至2.0MPa,此值可由标准压力表读出;顺时针转动设定值调节镙杆,使设定值由大变小,直至微动开关在2.0MPa处切换。

3.旋动锁紧器,调节校验台压力,使其在2.0MPa上下来回变化,校验压力上升时,切换值是否为2.0MPa,此值即为要求设定的上切换值,此值减去切换差(约0.085MPa)即为下切换值。

设定值为下切换值的调整方法:

同样选用设定范围在(0.05~2.5)MPa的控制器,但要求压力下降至1.8MPa(此值为下切换值)发出触点信号。

1.松开锁紧器,将控制器旋入校验台的螺纹接口上;打开盖板,将电缆穿过电缆接口接入端子板,电缆另一头接上万用表;

2.加压至1.8MPa,此值可由标准压力表读出;逆时针转动设定值调节镙杆,使设定值由小变大,直至微动开关在1.8MPa处切换。

3.旋动锁紧器,调节校验台压力,使其在1.8MPa处上下来回变化,校验压力下降时,切换值是否为1.8MPa,此值即为要求设定的下切换值,此值加上切换差(约0.85MPa)即为上切换值。

选型依据:

在压力开关的选用上主要依据:以被测介质的性质指标为准,以节约资金、便于安装和维护为参考。

如被测介质为腐蚀性的场合,必须考虑使用不锈钢等材质。

在选型时要考虑被测介质的温度,如果温度高一般为200℃~400℃,要采取缓冲方法,例如连接一根盘香式铜毛细管。

在选型时要考虑设备工作压力,压力等级必须与应用场合相符合。

从选用测量范围上来说,一般都具有一定的量程可调范围,最好将使用的量程范围设在它量程的1/4~3/4段,这样精度会有保证。

本文来源于互联网,暖通南社整理编辑。

压力开关的分类与特点及应用

/// 专 业 的 工 业 传 感 与 测 量 头 条 号 ///

/ 前言 /

压力开关是一种简单的压力控制装置,当被测压力达到额定值时,压力开关可发出警报或控制信号。

/ 压力开关的分类 /

压力开关根据传感元件可分为:圈弹簧管压力开关、膜片压力开关、膜盒压力开关及波纹管压力开关等。

压力开关根据性质可分为:机械式和电子式智能压力开关。

压力开关根据设定值可分为:可调节式压力开关和不可调节式压力开关。

压力开关根据应用可分为:通用压力开关,小型压力开关,智能压力开关,防爆压力开关,船用压力开关,差压开关等。

指针式电接点压力表与智能数显压力开关的对比

/ 压力开关的特点 /

压力开关主要类别包括常开式和常闭式。主要特点是:

1.采用英制管螺纹快速接头或铜管焊接式安装结构,安装灵活,使用方便,无需特殊的安装固定。

2.插片式导线式连接方可供用户任意选定。

3.密封式不锈钢感应器安全可靠。

4.压力范围内可根据用户任意选定的压力值进行制造。

/ 压力开关主要应用领域 /

主要用于家用、商用、汽车制冷系统的高、低压力保护控制,蒸汽工况和发电站;蓄能器,接收器,闪蒸罐,分离器,洗涤器,炼油装置。也可适用于各种设备工具的高、低压力保护控制。  

压力开关用在空压机上面主要是来调节空压机的起停状态,通过调节储气罐内的压力来让空压机停机休息,对机器有保养作用。在空压机工厂调试的时候,根据客户需要调节到指定压力,然后设定一个压差。

例如,压缩机开始启动,向储气罐打气,到压力10kg的时候,空压机停机或者卸载,当压力到7kg的时候空压机又开始启动,此间有一个压力差,这个过程就可以让压缩机休息一下,达到保护空压机的作用。由电动机直接驱动压缩机,使曲轴产生旋转运动,带动连杆使活塞产生往复运动,引起气缸容积变化。

由於气缸内压力的变化,通过进气阀使空气经过空气滤清器(消声器)进入气缸,在压缩行程中,由於气缸容积的缩小,压缩空气经过排气阀的作用,质量流量计经排气管,单向阀(止回阀)进入储气罐,当排气压力达到额定压力0.7MPa时由压力开关控制而自动停机。

当储气罐压力降至0.5--0.6MPa时,压力开关自动联接启动。

空压机示例图

/ 压力开关主要应用领域 /

1.控压设定值最好选在调节范围的20%-80%之间。

2.介质温度过高时,可在压力接口前加螺旋冷却管。

3.仪表安装方便,墙装、管装均能正常工作。若安装在室外,应给予必要的保护。

4.须专业人员维修,像胶密封垫老化后应及时更换。还有一些压力开关的故障与维修

相关问答

什么是 电子式 压差 开关 ?

电子式压差开关是市场上这几年比较流行的,它用来替代电接点压力表和使用在工控控制要求比较高的系统上。这种压力开关内置精密压力传感器,通过高精度仪表放大...

压力开关 灵敏度?

把压力开关盖子打开,可以看到一大一小两个弹簧柱,其中大的弹簧柱是用来调节压力的,小的弹簧柱是用来调节灵敏度的。大家将大弹簧柱上的螺母顺时针转动到适当...

家用 压力 罐怎样将低压 开关 调高一点?

使用机械式压力开关:打开压力开关塑壳,有内部有大小两个弹簧柱和内部一个大的弹簧柱两种结构类型,需要调高压力的,将大号弹簧柱上的螺丝顺时针下紧,需要...。...

有谁晓得电压力锅的 压力开关 在哪?_住范儿家装官网

电压力锅的压力开关在盖上,有压力小卡销不回弹,卡住锅体,使锅盖打不开。如果锅内有压力,安全锁会锁住锅盖,以免锅盖炸开。等安全气阀将热气散尽,安...

电子式 智能水泵 压力 控制器如何调 压力 ?

电子式智能水泵压力控制器可以通过设定压力开关的上下限来对水泵的压力进行调节。在设定压力开关上限时,需要按照实际使用情况和水泵的机型来确定合理的值,同...

压力 控制器有什么作用

[回答]选好鹭宫压力控制器需要掌握5个方面的技巧,那么是哪5个方面呢?嘉兴裕隆教您如何用5招选用好的鹭宫压力控制器。第1招:鹭宫压力控制器的自身性能选用...

请问一下, 压力开关 需要电源线吗-答疑解惑-广联达服务新干线

[回答]需要的,普通的压力开关不需要电源线。压力开关有机械式,电子式两大类等。机械式不需要电源线,电子式需要。压力开关需要电源线带有模块控制的的...

ue 电子式压力开关 价格多少?-设计本有问必答

1.美国进口UEH100系列190型压力开关,参考价8862.美国进口UEH100系列192型压力开关,参考价9003.UE压力开关H100-701,参考价3000以上价格来源...

水泵智能 压力开关 最好装在泵前还是泵后?

把压力开关的最高压力调低最低调高上下间隔0.5个压力就行了开水最低闭合关水后最高断开。自吸泵的工作原理是:水泵启动前先在泵壳内灌满水(或泵壳内自...

谁知道真空 开关 作用有哪些?_住范儿家装官网

真空间隙在较小的距离间隙(2—3毫米)情况下,有比高压力空气与SF6气体高的绝缘特性,这就是真空断路器的触头开距一般不大的原因。电极材料对击穿电...

标签:

相关阅读