电子节气门应用 汽车控制之电子节气门控制分析

小编头像

小编

管理员

发布于:2025年05月05日

96 阅读 · 0 评论

汽车控制之电子节气门控制分析

电子节气门控制

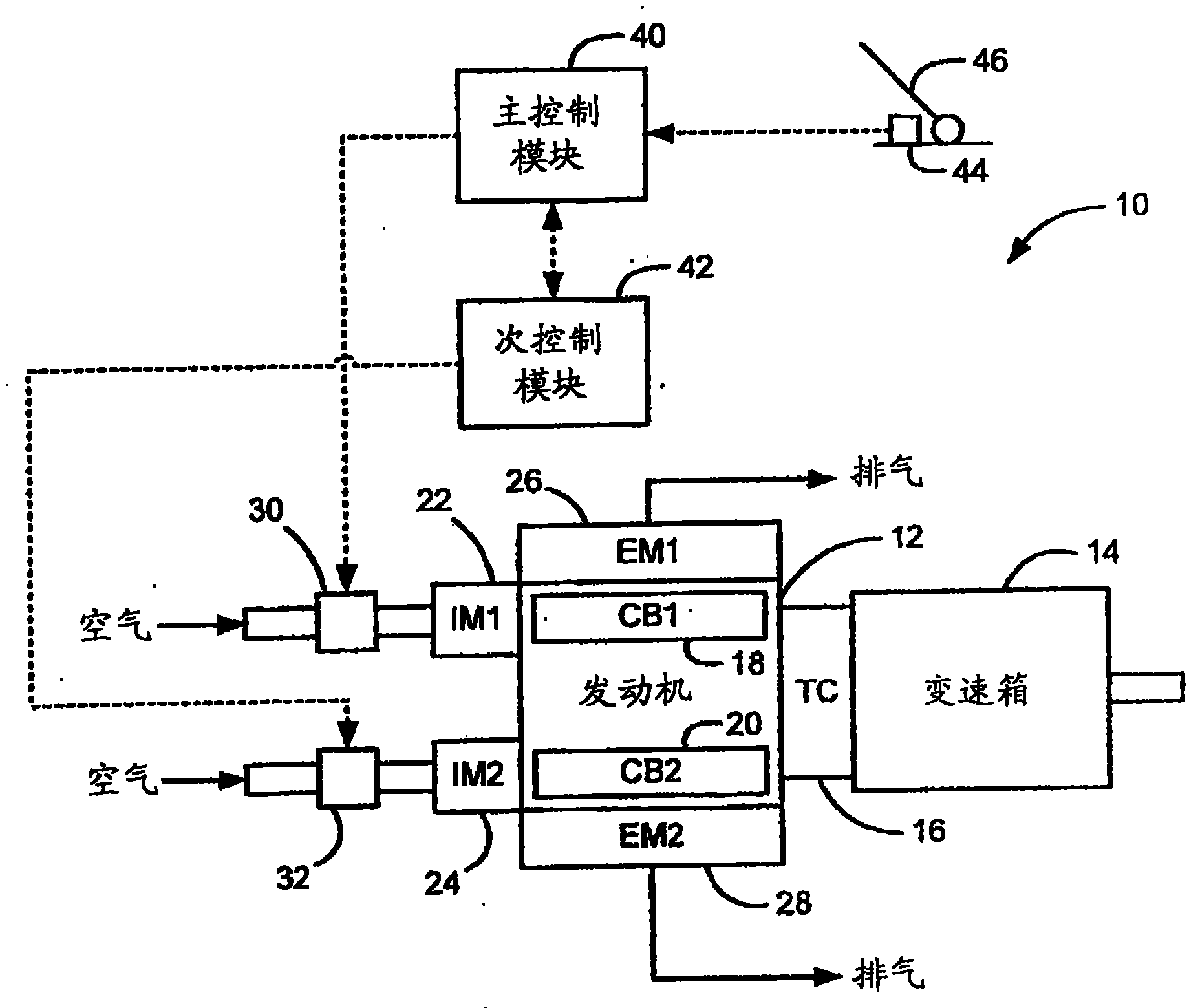
电子节气门是发动机管理系统中的重要部件,是实现发动机全电控的基础, 现在得到了极为广泛的应用. 电子节气门控制 (Electronic throttle control, ETC) 系统如图 所示

电子节气门开度并不完全由加速踏板位置决定, 而是控制单元根据当前行驶状况下整车对发动机的全部扭矩需求, 计算出节气门的最佳开度, 从而控制电机驱动节气门到达相应的开度, 使发动机工作在最佳状态, 提高汽车的动力性、安全性及舒适性.为了保证电子节气门能够保留机械直连式节气门的优良响应特性且节气门挡板不碰撞限位块, 要求节气门快速响应、零超调、精度在 ± 2 % 以内.

最佳节气门开度是根据加速踏板的位置信息,以及发动机的工作模式和工作状态, 通过一定的计算方法, 得到一个与之相应的节气门目标开度[. 节气门开度控制模块通过控制节气门开度来跟踪节气门目标开度, 通常最简单的控制方法是采用传统的 PID 控制方法 , 然而电子节气门本身是一个具有强非线性的系统, 采用单一的 PID 控制策略, 其闭环系统的鲁棒性、控制性能很难得到可靠的保证

汽车控制之电子节气门控制分析

电子节气门控制

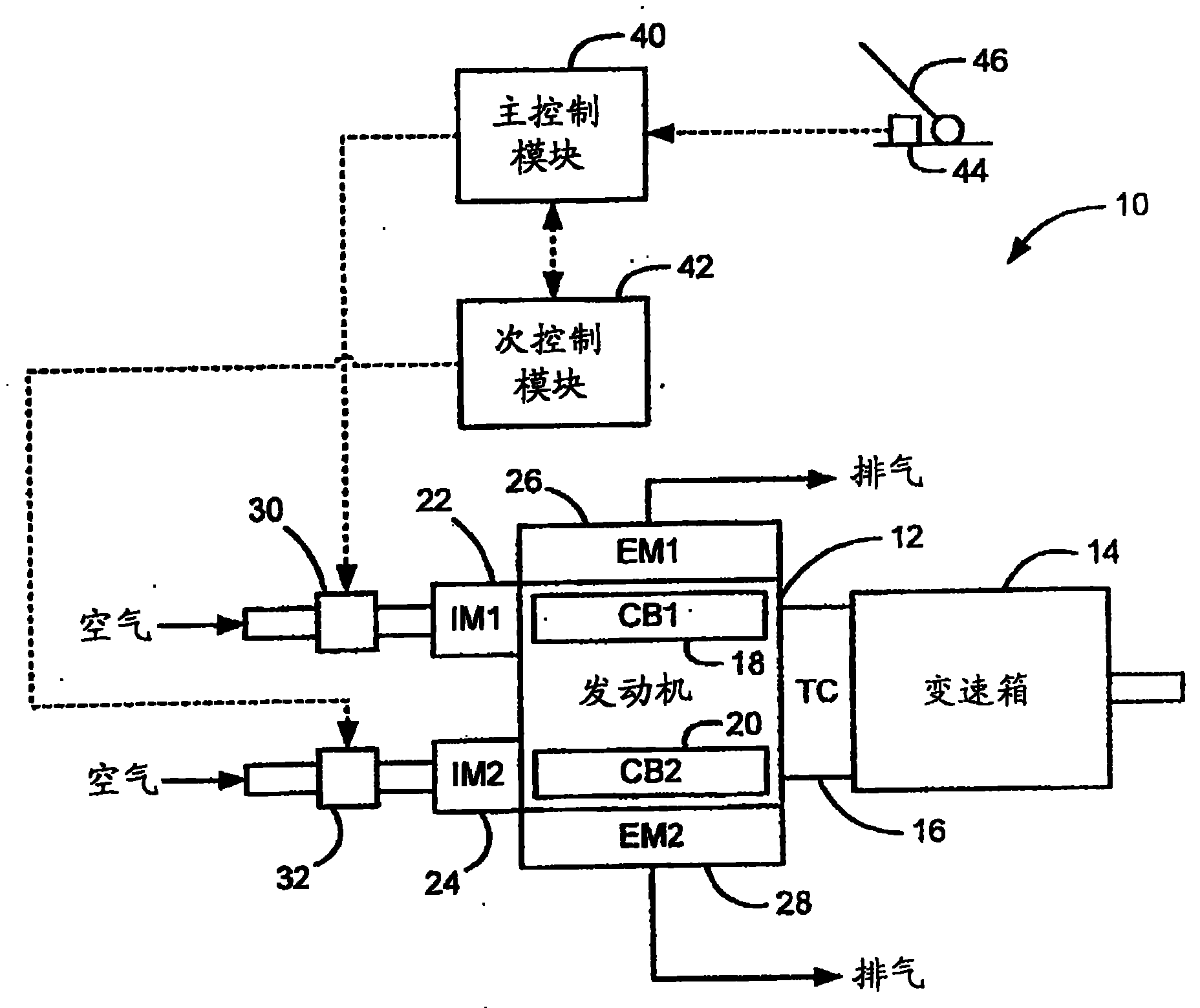
电子节气门是发动机管理系统中的重要部件,是实现发动机全电控的基础, 现在得到了极为广泛的应用. 电子节气门控制 (Electronic throttle control, ETC) 系统如图 所示

电子节气门开度并不完全由加速踏板位置决定, 而是控制单元根据当前行驶状况下整车对发动机的全部扭矩需求, 计算出节气门的最佳开度, 从而控制电机驱动节气门到达相应的开度, 使发动机工作在最佳状态, 提高汽车的动力性、安全性及舒适性.为了保证电子节气门能够保留机械直连式节气门的优良响应特性且节气门挡板不碰撞限位块, 要求节气门快速响应、零超调、精度在 ± 2 % 以内.

最佳节气门开度是根据加速踏板的位置信息,以及发动机的工作模式和工作状态, 通过一定的计算方法, 得到一个与之相应的节气门目标开度[. 节气门开度控制模块通过控制节气门开度来跟踪节气门目标开度, 通常最简单的控制方法是采用传统的 PID 控制方法 , 然而电子节气门本身是一个具有强非线性的系统, 采用单一的 PID 控制策略, 其闭环系统的鲁棒性、控制性能很难得到可靠的保证

相关问答

电子节气门 可以实现哪些功能?

[最佳回答]电子节气门可以实现的功能:1、节气门直动式节气门位置传感器a)2-13节气门直动式怠速控制系统怠速节气门位置传感器;2、2-应急弹簧3-怠速电机4-节...

电子节气门 可以实现哪些功能_车坛

电子节气门可以实现的功能:1、节气门直动式节气门位置传感器a)2-13节气门直动式怠速控制系统怠速节气门位置传感器;2、2-应急弹簧3-怠速电机4-节...

圣达菲2.0t柴油 节气门 用途?

汽车节气门有两种形式:传统的机械节气门和现在的电子节气门。传统机械节气门:在以前的车辆是使用的机械化油器,汽车节气门也就是机械式的,驾驶员通过踩踏油...

电子节气门 有几个种类

[最佳回答]电子节气门有几个种类?电子节气门(electronicthrottle)是汽车发动机的重要控制部件。

汽车 节气门 有什么作用?

现在的汽车发动机都配备节气门!那节气门就很重要!节气门顾名思义就是阻挡气流流动的一个阀门!进气的多少都由这个门开度所决定的!现在汽车节气门都是直动式...

电子节气门 调节器的作用和工作原理是什么?

汽车电子节气门技术(ElectronicThrottleControlSystem简称ETC)是伴随汽车电子驱动理念(Drive—by—Wire)而诞生的。电子节气门(electronicthrot...

电子节气门 有几个种类的,电子节气门有几个种类图片

[最佳回答]电子节气门有几个种类的,电子节气门有几个种类图片电子节气门主要有四种类型:电液式、线性电磁铁式、步进电机式和直流伺服电机式。其中,电液式和步...

什么情况下需要清洗 节气门 ?需要清洗 节气门 的表现 - 汽车维修...

[回答]节气门就是油门,是控制空气流通流量大小的的阀门。有两种情况需要清洗节气门。一种就是常规的保养,当发动机怠速抖动加速不良。另外一种就是维修断...

节气门 位置传感器的功能_车坛

节气门位置传感器的主要作用就是检测发动机处于什么样的工作状态(一般情况下发动机有两种工作状态,怠速工作或者是负荷工作)。节气门位置传感器是汽...

3线 节气门 位置传感器标准电压?

根据节气门开度不同,电子节气门位置传感器输出的信号电压在0.5-4.5V之间。节气门位置传感器在实际的运用中就是通过踩油门的大小来控制开度的大小,开度越大说...

标签:

相关阅读