广东电子发票应用下载 电子发票

小编头像

小编

管理员

发布于:2025年05月05日

92 阅读 · 0 评论

电子发票

为贯彻落实《中共中央办公厅 国务院办公厅关于进一步深化税收征管改革的意见》提出的稳步实施发票电子化改革。自2021年12月1日起,国家税务总局在内蒙古自治区、上海市、广东省(不含深圳,下同)3个地区开展了全面数字化的电子发票(全电发票)试点工作。税务机关依托全国统一的电子发票服务平台,24小时在线免费为纳税人提供全电发票开具、交付、查验等服务,实现发票全领域、全环节、全要素电子化。本专题以相关法规及北京市税务局、江苏省税务局公开发布的资料为基础整理,供用户参考使用。

什么是全面数字化的电子发票?

全面数字化的电子发票(以下称全电发票)是与纸质发票具有同等法律效力的全新发票,不以纸质形式存在、不用介质支撑、无须申请领用、发票验旧及申请增版增量。纸质发票的票面信息全面数字化,将多个票种集成归并为电子发票单一票种,全电发票实行全国统一赋码、自动流转交付。

全电发票的票面信息包括哪些?

全电发票的票面信息包括基本内容和特定内容。

为了符合纳税人开具发票的习惯,全电发票的基本内容在现行增值税发票基础上进行了优化,主要包括:动态二维码、发票号码、开票日期、购买方信息、销售方信息、项目名称、规格型号、单位、数量、单价、金额、税率/征收率、税额、合计、价税合计(大写、小写)、备注、开票人。

为了满足从事特定行业、经营特殊商品服务及特定应用场景业务(以下简称“特定业务”)的纳税人开具发票的个性化需求,税务机关根据现行发票开具的有关规定和特定业务的开票场景,在全电发票中设计了相应的特定内容。特定业务包括但不限于稀土、卷烟、建筑服务、旅客运输服务、货物运输服务、不动产销售、不动产经营租赁、农产品收购、光伏收购、代收车船税、自产农产品销售、差额征税等。试点纳税人在开具全电发票时,可以按照实际业务开展情况,选择特定业务,将按规定应填写在发票备注等栏次的信息,填写在特定内容栏次,进一步规范发票票面内容,便于纳税人使用。特定业务的全电发票票面按照特定内容展示相应信息,同时票面左上角展示该业务类型的字样。

全电发票与现有的发票样式有什么区别?

全电发票样式与现有发票样式区别在于:一是全电发票票样将原有发票代码+发票号码变为20位发票号码;取消了校验码、收款人、复核人、销售方(章);取消了发票密码区。二是全电发票特定业务会影响发票展示内容,不同的特定业务展示的发票票面内容不同。三是全电发票将原备注栏中手工填列、无法采集的内容,设置为固定可采集、可使用的数据项,并展示于票面上。

全电发票和使用税控设备开具的电子发票主要区别是什么?

一是管理方式不同。对于全电发票,纳税人开业后,无需使用税控专用设备,无需办理发票票种核定,无需领用全电发票,系统自动赋予开具额度,并根据纳税人行为,动态调整开具金额总额度,实现开业即可开票。对于使用税控设备开具的电子发票(以下简称“纸电发票”),纳税人开业后,需先申领税控专用设备并进行票种核定,发票数量和票面限额管理同纸质发票一样,纳税人需要依申请才能对发票增版增量,是纸质发票管理模式下的电子化。

二是发票交付手段不同。全电发票开具后,发票数据文件自动发送至开票方和受票方的税务数字账户,便利交付入账,减少人工收发。同时,依托电子发票服务平台税务数字账户,纳税人可对各类发票数据进行自动归集,发票数据使用更高效便捷。而“纸电”发票开具后,需要通过发票版式文件进行交付。即开票方将发票版式文件通过邮件、短信等方式交付给受票方;受票方人工下载后,仍需对发票的版式文件进行归集、整理、入账等操作。

使用全电发票有什么优点?

(1)领票流程更简化

开业开票“无缝衔接”。全电发票实现“去介质”,纳税人不再需要预先领取税控专用设备;通过“赋码制”取消特定发票号段申领,发票信息生成后,系统自动分配唯一的发票号码;通过“授信制”自动为纳税人赋予开具金额总额度,实现开票“零前置”。基于此,新办纳税人可实现“开业即可开票”。

(2)开票用票更便捷

一是发票开具渠道更多元。电子发票服务平台全部功能上线后,纳税人不仅可以通过电脑网页端开具全电发票,还可以通过客户端、移动端手机App随时随地开具全电发票。

二是“一站式”服务更便捷。纳税人登录电子发票服务平台后,可进行发票开具、交付、查验以及勾选等系列操作,享受“一站式”服务,无需再登录多个平台完成相关操作。

三是发票数据应用更广泛。通过“一户式”“一人式”发票数据归集,加强各税费数据联动,为实现“一表集成”式税费申报预填服务奠定数据基础。

四是满足个性业务需求。全电发票破除特定格式要求,增加了XML的数据电文格式便利交付,同时保留PDF、OFD等格式,降低发票使用成本,提升纳税人用票的便利度和获得感。全电发票样式根据不同业务进行差异化展示,为纳税人提供更优质的个性化服务。

五是纳税服务渠道更畅通。电子发票服务平台提供征纳互动相关功能,如增加智能咨询,纳税人在开票、受票等过程中,平台自动接收纳税人业务处理过程中存在的问题并进行智能答疑;增设异议提交功能,纳税人对开具金额总额度有异议时,可以通过平台向税务机关提出。

(3)入账归档一体化

通过制发电子发票数据规范、出台电子发票国家标准,实现全电发票全流程数字化流转,进一步推进企业和行政事业单位会计核算、财务管理信息化。

使用全电发票如何保障纳税人的发票数据安全和隐私?

全电发票使用了最新加密技术,加强了纳税人最关心的发票安全性、隐私性保障能力。

——从安全性来说,电子发票服务平台将利用数字信封技术来最大限度地保障交易安全性,通过对发票数据传输通道进行加密,保证数据流转的安全性,防止数据被窃取、篡改、冒充。

——从隐私性来说,全电发票保持了纸质发票的基本属性和主要特征,在为用户提供不同于纸质发票交付和入账等体验的同时,通过隐私保护技术确保用户数据安全,避免信息泄露。

国家税务总局上海市税务局关于进一步开展全面数字化的电子发票试点工作的公告 [国家税务总局上海市税务局公告2022年第1号] [2022.05.19 发布] [2022.05.23 实施]

国家税务总局上海市税务局关于扩大全面数字化的电子发票受票方范围的公告 [国家税务总局上海市税务局公告2022年第2号] [2022.06.16 发布] [2022.06.21 实施]

国家税务总局内蒙古自治区税务局关于扩大全面数字化的电子发票受票方范围的公告 [国家税务总局内蒙古自治区税务局公告〔2022〕5号] [2022.06.20 发布] [2022.06.21 实施]

国家税务总局内蒙古自治区税务局关于进一步开展全面数字化的电子发票试点工作的公告 [国家税务总局内蒙古自治区税务局公告2022年第3号] [2022.04.19 发布] [2022.04.25 实施]

国家税务总局广东省税务局关于进一步开展全面数字化的电子发票试点工作的公告 [国家税务总局广东省税务局公告2022年第2号] [2022.03.29 发布] [2022.04.01 实施]

国家税务总局广东省税务局关于扩大全面数字化的电子发票受票方范围的公告 [国家税务总局广东省税务局公告2022年第3号] [2022.06.16 发布] [2022.06.21 实施]

国家税务总局四川省税务局关于开展全面数字化的电子发票受票试点工作的公告 [国家税务总局四川省税务局公告2022年第4号] [2022.05.05 发布] [2022.05.10 实施]

国家税务总局北京市税务局关于开展全面数字化的电子发票受票试点工作的公告 [国家税务总局北京市税务局公告2022年第3号] [2022.06.09 发布] [2022.06.21 实施]

国家税务总局江苏省税务局关于开展全面数字化的电子发票受票试点工作的公告 [国家税务总局江苏省税务局公告2022年第1号] [2022.06.08 发布] [2022.06.21 实施]

国家税务总局山东省税务局关于开展全面数字化的电子发票受票试点工作的公告 [国家税务总局山东省税务局公告2022年第2号] [2022.06.07 发布] [2022.06.21 实施]

国家税务总局浙江省税务局关于开展全面数字化的电子发票受票试点工作的公告 [国家税务总局浙江省税务局公告2022年第1号] [2022.06.02 发布] [2022.06.21 实施]

国家税务总局深圳市税务局关于开展全面数字化的电子发票受票试点工作的公告 [国家税务总局浙江省税务局公告2022年第1号] [2022.06.02 发布] [2022.06.21 实施]

国家税务总局重庆市税务局关于开展全面数字化的电子发票受票试点工作的公告 [国家税务总局重庆市税务局公告2022年第4号] [2022.07.08 发布] [2022.07.18 实施]

国家税务总局陕西省税务局关于开展全面数字化的电子发票受票试点工作的公告 [国家税务总局陕西省税务局公告2022年第1号] [2022.07.08 发布] [2022.07.18 实施]

国家税务总局河北省税务局关于开展全面数字化的电子发票受票试点工作的公告 [国家税务总局河北省税务局公告2022年第4号] [2022.07.08 发布] [2022.07.18 实施]

国家税务总局河南省税务局关于开展全面数字化的电子发票受票试点工作的公告 [豫税公告〔2022〕2号] [2022.07.08 发布] [2022.07.18 实施]

国家税务总局福建省税务局关于开展全面数字化的电子发票受票试点工作的公告 [国家税务总局福建省税务局公告2022年第5号] [2022.07.08 发布] [2022.07.18 实施]

国家税务总局安徽省税务局关于开展全面数字化的电子发票受票试点工作的公告 [国家税务总局安徽省税务局公告2022年第1号] [2022.07.08 发布] [2022.07.18 实施]

国家税务总局江西省税务局关于开展全面数字化的电子发票受票试点工作的公告 [国家税务总局江西省税务局公告2022年第3号] [2022.07.08 发布] [2022.07.18 实施]

国家税务总局湖北省税务局关于开展全面数字化的电子发票受票试点工作的公告 [国家税务总局湖北省税务局公告2022年第4号] [2022.07.07 发布] [2022.07.18 实施]

国家税务总局湖南省税务局关于开展全面数字化的电子发票受票试点工作的公告 [国家税务总局湖南省税务局公告2022年第3号] [2022.07.07 发布] [2022.07.18 实施]

如何登陆平台下载电子发票

为了增强电子发票的稳定性,我司对电子发票平台进行了迁移,迁移后新开具(上传)的发票将会上传到新平台。

登录新平台下载电子发票的方法:

1、输入网址www.baiwang.com(建议将网址保存为书签),点击登录--选择企业登录,输入账号、初始密码123456,点击登录(如点击登录没反应可更换浏览器试试,建议用火狐浏览器)。

1、首次登录需要修改密码,输入您的手机号码--点击获取验证码--输入手机短信收到的验证码--输入新密码和确认密码--点击确认。

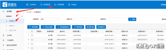
1、登录后,在首页点击“销项管理--云开票--查询统计--发票查询”,可以勾选需要下载的发票点击电子票下载。

如您需要下载之前上传到旧平台的发票,需要登录旧平台上下载,具体步骤如下:

1、输入网址www.bwfapiao.com,选广东点击右上角的登录,选择企业登录,账号为税号,密码为6个1或者6个6。

2、登录后,点击查询统计,选择您要下载发票的月份,或输入信息搜索,搜索到后点击下载。

(如果您电脑上原本安装了微开票也可点击“我的电子票”进入下载之前开具的电子发票)

温馨提醒:上传到哪一个平台就需要登录到哪个平台下载;如您区分不清楚是上传到哪个平台,可以两个都登录查询一下。

相关问答

广东 房产契税 电子发票 怎么 下载 ?

1、用户可登陆个人账户,在订单详情页,“付款信息”页面下载pdf格式电子发票。2、点击我的订单------查看---------订单信息-----------发票信息(栏内有“电子...

广东 高速公路过路费 电子发票 如何打印?_中国会计网

[回答]支付宝支付高速通行费后,打开支付宝,在帐单那里找到支付过路费的订单号,复制.然后打开微信搜索"无感收费"小程序,选第二个扫码支付开票,进入第三方...

增值税专用 发票电子化 试点开票软件(税务UKey版)操作指引_中...

[回答]增值税专用发票电子化试点开票软件(税务UKey版)操作指引及纳税人端系统操作手册(上海税务2020版)增值税专用发票电子化试点开票软件(税务UKey版)操...

中石化加油 电子发票 去哪 下载 ?

以深圳为例,中石化是有电子发票的。中国石化广东深圳石油正式启动上线增值税电子普通发票系统,顾客可在深圳100余座全资自营中石化加油站开具电子发票。该公...

深圳高速费 电子发票 怎么开?-其他理财知识问答-我爱卡

[回答]1、下载“票根”APP并打开。2、注册并登录,绑定ETC卡,点击“我要开票”3、进入“我要开票”界面之后,选择需要开票的ETC卡或者用户卡。4、有“消费...

广州 电子发票 怎么领取_会计学堂

[回答]电子发票要去税务局申请

如何在 广东电子 税务局打印缴纳社保的 发票 - 汇财吧专业问答

[回答]可以使用映美电子发票云打印机打印电子发票,只需要在微信/支付宝上扫一扫打印机身上的二维码就可以调出卡包里面的发票进行打印,短信电票粘贴链接即...

广东 支付宝高速 电子 票怎么开?

1.广东支付宝高速电子票可以通过支付宝App进行开具。2.原因是广东省交通部门与支付宝合作推出了高速电子票服务,方便用户快捷开具电子票据,减少纸质票据的使...

广东 增值税 电子 普通 发票 开具流程?

1.电脑桌面双击【开篇软件】并输入【口令】和【密码】登录进入开票软件;2.点击左上角【发票管理】;3.点击【发票填开】,在弹出的列表选择【增值税普通发票填...

广东电子 税务局网页点哪里可以提高 电子发票 额度_会计学堂

[回答]同学|http://static.nfapp.southcn.com/content/201706/02/c458806.html1.操作入口选择事项办理—涉税事项办理——发票——增值税专用发票...

标签:

相关阅读