汽车电子油泵应用 可应用于新能源汽车的新型电子机油泵

小编头像

小编

管理员

发布于:2026年04月14日

105 阅读 · 0 评论

可应用于新能源汽车的新型电子机油泵

当前汽车市场需要新的电气设备,并且对这些电气设备的要求越来越高,规格也愈加繁多。介绍了1种新型汽车用集成无刷直流电机的电子机油泵。为了覆盖典型的汽车运行温度范围,对其进行了升级,目标是实现新能源汽车动力系统设计所要求的高功率密度和小型化。在动力组件内部,采用校准过的机油循环系统来冷却集成的发动机控制单元(ECU)和电机。在该情况下,产生的热量被不断带走,因此动力组件允许工作的环境温度可以提高到140 ℃,而不会对电子元件产生负面影响。基于需要的机油压力,该动力组件可以与不同的模块化油泵元件(叶轮、内齿轮、直齿轮、平衡直齿轮)组合,以覆盖不同的应用领域。如果油泵装配内齿轮,则适合博世eAxle电驱动系统电机转子或变速器齿轮润滑的低压要求。如果油泵装配直齿轮,可用于纯电动汽车(EV)或混合动力汽车(HEV)的变速箱。对于高动态扭矩矢量分配系统,应具备高效率齿轮,因为该系统需要的压力更高。研究采用了多变量验证模拟工具,对比了电子机油泵元件不同的组合,并运用神经网络预测了油泵内油温水平,结果显示其具有较高的精度。

0 前言

虽然电气化是当前汽车市场的主要发展趋势,但其如何深化还不明朗。纯电动汽车(EV)虽已上市,但充电设施和电池性能仍然不够充足和稳定。混合动力汽车(HEV)作为1种过渡和可靠的解决方案受到关注,结合了成熟内燃机(ICE)技术的优点和一些局限性。在电子机油泵的开发过程中,本研究的目标是涵盖每个应用场景中最恶劣的情况,以满足来自电动汽车和混合动力汽车这2个领域的要求,如更高温度和更强振动范围下的噪声-振动-平顺性(NVH)要求和布置。为了提高产品竞争力,研究人员有必要采用模块化的方法来覆盖不同的应用领域,如润滑、冷却、驱动等,并适应广泛的应用案例,如电驱动、自动变速箱、扭矩矢量分配、电池冷却等。电子机油泵的功率范围为100~500 W(电机侧,电力来自电池),可以满足上述不同的应用要求。从最终应用到详细的电机设计,以及特定控制策略的应用,研究人员通过验证过的仿真工具进行仿真计算,对电子机油泵的液压工作点进行了研究,确保了高功率密度和可靠的寿命。

1 集成式冷却系统

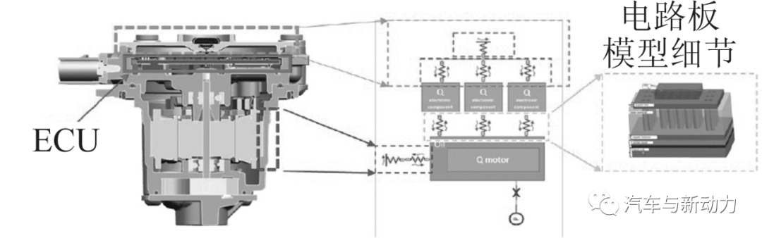
在发动机舱内使用电气产品面临的1个主要问题是发动机舱内最高温度可达到140 ℃,特别是对于自动变速器来说。在发动机舱内,发动机控制单元(ECU)是最关键的部件,为了避免开发带有非标汽车零件的专用ECU,研究人员在电机内部设计了集成式的特殊冷却系统(图1),可以使传统的ECU适应新的应用场景。这种方法可节省零部件成本。为了防止ECU在临界温度下损坏,研究人员采取了降低油泵性能的策略。这种高效的集成冷却系统即使在某些恶劣条件下也能拓展油泵的工作范围。

图1 带有集成ECU和电子机油泵的爆炸图(具有内部油道外壳和ECU封装腔)

对于新能源汽车来说,由于具有挑战性的布置空间要求,并且发动机舱内缺乏空气流动,传统对流冷却系统已不适用。因此,研究人员需要配置内部集成冷却系统,利用泵内机油的流动来带走ECU 元件产生的热量。

研究人员设计了1个铝制壳体来封装ECU,同时壳体底部与机油接触。机油直接来自油泵的高压侧,在油道内采用1个集成的和校准过的节流阀来控制其流量,旨在确保通过铝板进行最佳的热交换。热力学换热模拟可以确定ECU和铝板之间的间隙,机油通过电机转子流回油泵的进油侧。该方案有助于保持其内部温度稳定,避免磁铁和铜保护涂层过热。这种电机布置方式被称为“湿式布置”,没有采用密封件将油路与电机和磁性零件分隔开(图2)。

图2 湿式电机的机油在动力组件内流动情况

图3给出了用于模拟的油泵系统热力学模型。该模型再现了泵内外的热交换形式。该模型的内部结构特征如下:电路板元件和间隙填充物具备热力学特征;元件之间的热量自然对流。该模型的边界条件包括:(1)环境温度;(2)机油流量(关于油泵运行工况点的函数);(3)电子元件热流量(关于油泵运行工况点的函数)。

图3 油泵系统热力学模型分析内外热量交换

电子机油泵的一维仿真模型如图4所示。基于此模型,研究人员进行了更精确的研究。为了保护电子元件,ECU切换到低性能模式,这意味着通过软件降低了电气系统功率,从而降低了电子元件的热量,防止电子元件过热。油泵开始降低性能时的温度与不同的冷却系统密切相关。通过热力学模拟,研究人员比较了如下2种不同的冷却系统:(1)油冷式,有内部机油再循环,无外部空气对流;(2)风冷式,无内部机油再循环,有外部空气对流。

图4 电子机油泵的一维模型细节

通过试验结果可知,在固定输入功率300 W的情况下,机油冷却和空气冷却系统的降低性能时,最大ECU温度都为150 ℃,降低性能初始时的温度分别为135 ℃和116 ℃,如表1所示。内部油冷式冷却系统的优势非常明显,即使没有外部空气对流,低性能模式启动时的温度也较高。这意味着这种创新设计可应用于没有空气冷却的情况。ECU 与铝隔板之间的热交换至关重要,其关键参数是间隙尺寸,基于压铸工艺的特别设计可以降低生产成本。与铝压铸供应商的联合设计确保了较少的加工表面(图5),并消除了在加工过程中产生孔隙的风险。有限但稳定的油道可确保有效的热交换。例如,对于功率为150 W的动力组件和10~20 L/min范围内的机油流量要求,额外用于内部冷却的流量占总机油流量的0.5%~1.0%。图6以绝对值和百分比值绘制了整个温度范围内(0~140 ℃)内部冷却系统所需的油量。

表1 在固定输入功率300 W的情况下,机油冷却和空气冷却系统的降低性能时的ECU温度

图5 ECU容腔详图和铝制盖板图

图6 冷却ECU和150 W电机所需的机油流量

2 湿式电机、油温和虚拟传感器

如果冷却系统中的机油被污染,这将不可避免地损坏ECU 部件。因此,研究人员开发了1个绝缘系统对穿过铝板的电机三相线进行密封,确保了ECU的安全隔离。针对液压和动态应力的密封,研究人员进行了专门的设计优化,并使用了弹性部件。

机油与电子油泵部件的接触热量,以及集成传感器产生的热量,可以通过用于设计机油泵的热力学模型来进行计算。在这种情况下,神经网络模型的开发提供了将所有热学特性打包在1个“黑盒子”内的优点,其中模型的输入和输出是“预测数据”。由图7可知,在较宽的温度范围内,实际油温与估测油温之间的误差低于5 ℃。尽管这些是初步的结果,但其精度足以满足主要应用。车辆控制单元通过通信总线(LIN或CAN)直接获取计算的机油温度,并将其看作类似传统传感器的输出。

图7 神经网络模型油温估测值与实际油温的比较

在正常工作条件下,ECU和机油之间的典型温度差保持在不高于5 ℃的范围内(图8)。此外,如图9所示,当发动机性能提高到极限条件时,机油流量为19 L/min,机油压力为0.15 MPa,机油泵转速为5 000 r/min,温差始终保持在10 ℃以下。

图8 正常工况下油泵ECU 的测量温度

图9 极限条件下的油泵ECU 温度测量(差异小于10 ℃)

3 模块化方法

模块化方法可以实现上述的设计概念,研究人员须考虑以下参数:(1)增加电机长度,以提高其功率范围;(2)替换油泵元件,以覆盖不同的应用和压力水平,可适用于相同的动力组件。

扩展电机的金属外壳可在所有条件下实现冷却要求,并确保机油泵功率范围在80~500 W以内。此外,不同的机油泵零件可与同一动力组件组合,以确保其适用于不同的压力水平(0.1~3.0 MPa)。对于电动汽车、混合动力汽车和自动变速器的应用,根据流量和压力等级的差异,最合适的解决方案是采用以下设计应用:(1)离心叶轮泵;(2)传统直齿轮;(3)铝制壳体内齿轮泵;(4)钢制壳体内齿轮泵;(5)轴向补偿直齿轮。

图10汇总了不同机油泵的应用案例。图11对不同机油泵类型的功率和机油流量重合区域进行了分析。由图11可知,在等功率线上,有多种不同的机油泵元件方案可供选择。值得关注的是,采用离心叶轮泵可以与干式电机相结合,但不能在寒冷条件下的恶劣工况点使用。改变电机金属板长度,会使得机油泵的功率发生变化,在图11中表现为从1条等功率线迁移到另1条等功率线。

图10 不同机油泵的应用案例

图11 不同机油泵类型的功率和机油流量

由于ECU温度限制幅度的减小,电子机油泵的应用范围可以扩展到多个场景。典型应用产品的案例有:(1)eAxle电驱动系统壳体的叶轮冷却;(2)eAxle电驱动系统的冷却和润滑(铝制壳体内齿轮泵);(3)自动变速器的驱动齿轮泵或直齿轮;(4)补偿型直齿轮扭矩矢量分配系统。

4 结论

采用内部冷却系统可以将集成了ECU的电子机油泵的耐受温度范围提升到140 ℃,用来冷却的额外机油需求量低于总流量的1%。这一结果表明,该电子机油泵可以应用于相关的不同场景。例如,针对电动汽车、自动变速箱和扭矩矢量分配系统可使用相同的动力组件(电机+ECU),或者只需通过更换油泵零件(如低压泵冷却和高压泵驱动),同一动力组件在同一车辆即具备双重功能。这个方案能够兼容功率等级从80~500 W的机油泵。最优的内部热量交换需要零件高度集成,在确保紧凑的布局和空间布置的同时,也意味着实现了更高的功率密度。将温度维持在一定水平以下,可以提高机油泵的整体寿命,从而降低电机磁铁和ECU元件损坏的风险。神经网络的应用使通过通信总线获取油温成为可能,而无须安装专用油温传感器。

本文发表于《汽车与新动力》杂志2021年第4期

作者:[德] A.FAUDA等

整理:武涛

编辑:虞展

深蓝汽车申请油泵控制方法专利,解决电子油泵能耗较高的问题

金融界 2024 年 7 月 11 日消息,天眼查知识产权信息显示,深蓝汽车科技有限公司申请一项名为“油泵控制方法、装置、电子设备、车辆及存储介质“,公开号 CN202410515657.5,申请日期为 2024 年 4 月。

专利摘要显示,本申请涉及电驱动系统领域,特别涉及一种油泵控制方法、装置、电子设备、车辆及存储介质。方法应用于车辆的电驱系统,电驱系统包括:电子油泵;方法包括:确定电驱系统的运行状态;在电驱系统的运行状态为待机状态的情况下,确定车辆的充电状态;基于车辆的充电状态,控制电子油泵的转速。由此,可以解决电子油泵的能耗较高的问题。

本文源自金融界

相关问答

依维柯都灵有没有 电子油泵 ?

依维柯都灵确实使用了电子油泵。电子油泵是一种通过电子控制来控制燃油供应的装置,相较于传统的机械油泵,电子油泵具有更高的精确度和灵活性。它能够根据发动...

有手 油泵 的可以加装 电子 泵吗_车坛

以下是其相关介绍:加装电子泵的作用:汽车可以及时给各喷油器及冷启动喷油器提供需要的燃油。电子油泵的介绍:电子汽油泵在电子控制汽油喷射系统的应...

齿轮 油泵 的作用有哪些呢

齿轮油泵广泛应用于石油、化工、船舶、电力、粮油、食品、医疗、建材、冶金及国防科研等行业。齿轮油泵适用于输送不含固体颗粒和纤维,无腐蚀性、...

机油泵 的作用是什么_车坛

机油泵的作用是将机油提高到一定压力后,强制地压送到发动机各零件的运动表面上。机油泵结构形式可以分为齿轮式和转子式两类,齿轮式机油泵又分为内...

本田 油泵 控制原理?

本田油泵控制电路原理是:发动机低速或中小负荷下工作时,ECU中的晶体管导通,油泵控制继电器的线圈通电,触点闭合,将电阻器串入电路,油泵以低速运转。发动机...

自动变速器 油泵 有哪些类型?

汽油泵的功用是供给各喷油器及冷启动喷油器所需要的燃油。在电子控制汽油喷射系统中应用的电动汽油泵通常有两种类型,即滚柱式电动汽油泵和叶片式电动汽油泵。...

电动助力和 电子 液压助力哪个好

[最佳回答]电动助力比较好。电动助力转向系统自20世纪(查成交价|参配|优惠政策)80年代中期初提出以来,作为今后汽车转向系统的发展方向,必将取代现有的机械转...

轿车电暖风机有什么好处?

[回答]电动车取暖器的优点:1。使用电动汽车加热器时,风扇电机开启,带动助燃风机和暖风风机,油泵向燃烧室供油。机油在燃烧室入口处雾化并与来自自助助燃空...

发动机电控的主要系统有哪些,分别有什么作用?

发动机电控系统主要包括电控燃油喷射系统、电控点火系统和其他辅助控制系统。分别有以下作用:1、燃油喷射控制-------电控燃油喷射系统(EFI)在电控燃油喷...发...

上柴D9 油泵 怎么上?

1、从装油泵的洞里看,转动飞轮使凸轮转到背面,看到一个拨叉,调整油门使拨叉在洞口中间位置,把油泵上的齿条也放到中间位置上;2、然后小心安装上去,再把齿...

标签:

相关阅读