电子压力开关工业应用 应用案例 压力开关在工业生产中是如何运作的?

小编头像

小编

管理员

发布于:2025年05月05日

113 阅读 · 0 评论

应用案例 压力开关在工业生产中是如何运作的?

什么是压力?

这个压力不是我们通常说的压力,不是说工作有压力,生活有压力。这个压力是单位面积上施加在表面上的力的表达,准确的说法是压强,通常测量液体、空气、其他气体的压力等。压强的标准单位是“帕斯卡”。这相当于一个“牛顿每平方米”。压力传感器只是监控这个压强,并可以在世界上已知的几个单位之一中显示它。

压力传感器

嘉准FKP70系列压力开关,采用高可靠性变送器进行压力测量,信号由后端电路处理后转换成标准工业电信号输出并显示。蓝色塑料外壳设计,高对比度,三色双数LED显示,使得该系列产品能够被用于各种工业场合;该系列产品具有抗震动,寿命长,操作简单,显示清晰等特点。应用于工业系统中电子零件吸附确认,总压力确认,空气泄漏检测等应用。

显示屏

扩大了压力范围和设定压力范围,提高了数字显示屏的可视性,该系列产品具有抗震动,寿命长,操作简单,显示清晰等特点。

设定基准值

双画面显示功能同时确认当前值和基准值;内置多种设定项目,由用户自行调整工作参数,灵活方便。

三色双数LED显示

蓝色塑料外壳设计,高对比度,主显示屏与输出ON/OFF动作联动使颜色变化 容易掌握传感器的状况减暴少错误操作,使得该系列产品能够被用于各种工业场合;

四种输出方式

有高压 低压产品

高压0.1-1Mpa,低压是-100-100Kpa。

在数控机床设备中,可用FKP70压力传感器对工件夹紧力进行检测。当夹紧力低于设定值的时候,会导致工件松动,系统发出报警,停止走刀。

FKP70压力传感器还可以检测刀切削力的变化。它还在润滑系统、液压系统、气压系统被用来检测油路或气路中的压力。当油路或气路中的压力低于设定值时,其触点会产生动作,然后把信号送到控制系统进行控制,从而让机器完美的进行作业。

压力控制器及其应用

压力控制器是工业过程测量与控制系统中控制压力的一种专用仪表,工程中通常称作压力开关。它是用压力作为控制信号的电开关。

高压控制器:压缩机排压过高断电停车,消除产生高压的原因后,需手动复位才能使压缩机启动。(故障+报警)

低压控制器:吸气压力低到下限时断电停车,吸气压力回升到上限时,控制压缩机通电启动。(正常、无报警)

高低压控制器:将高压继电器和低压继电器组合在同一壳体内,完成二者功能。

根据工作原理分为以下两大类:

1、机械式压力控制器(JJG544规程针对);

2、电子式压力控制器。

电子式压力控制器:使用在工控控制要求比较高的系统上。这种压力控制器是在数字压力计的基础上,利用继电器输出信号,进行上下限控制。控制点可以自由设定,迟滞小,抗震动,响应快,稳定可靠。利用回差设置可以有效保护压力波动带来的反复动作,保护控制设备,是检测压力、液位信号,实现压力、液位监测和控制的高精度设备。

机械式压力控制器:通常称压力开关,为纯机械形变导致微动开关动作。工作原理:当系统内压力高于某一个设定压力计时,不同的压感元件(弹簧管、膜片、膜盒、波纹管、活塞等)的自由端产生位移,通过链接导杆推动开关内碟片瞬时发生移动;当压力降至额定的恢复值时,碟片瞬时反向移动,开关自动复位,最终输出一个开关量的电信号。

常用压力控制器外观图:

感压元件分类:

元件类型:弹簧管、膜片、膜盒、波纹管、活塞等。

工作介质:气体、液体、气液两用型三种。

测量范围:压力、真空和压力、真空三种。

开关元件分类:

按开关类型:磁性开关、水银开关、微动开关等。

按开关形式:常开式和常闭式两种。

按触电调节方式:两位式和三位式两种。

压力控制器分类:

按设定点:设定点可调型和设定点不可调型两种。

按切换差:切换差可调型和切换差不可调型两种。

调节方法:

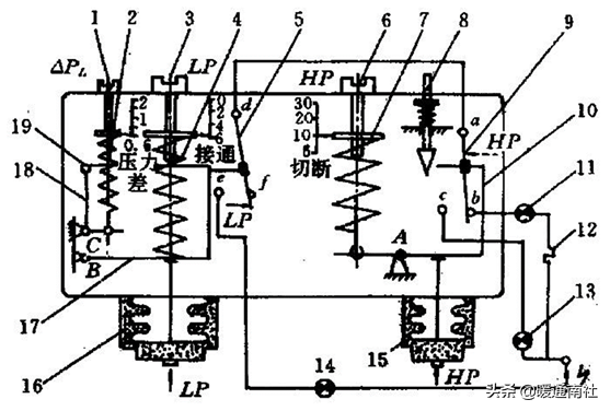
单独调节主调弹簧4,使预紧力增加,吸入压力上限(接通)、下限(切断)同时增加。单独调节幅差弹簧2,使预紧力增加,下限降低,上限不变。

低压断开压力=接通压力-幅差压力。

压力值的确定:

高压断开压力(上限):参照最高工作压力(冷剂46℃对应的饱和压力)。

低压断开压力(低压下限):蒸发温度减去5℃对应的饱和压力(不小于10kPa)。

低压闭合压力(低压上限):适当低于冷库温度上限对应的饱和压力。

测定方法:慢慢关小吸入截止阀,停车时吸入压力表的读数为低压下限,重新启动时的读数为低压上限。慢慢关小排出截止阀,停车时排出压力表的读数为高压断开压力。

压力控制器使用时应注意事项:

(1)适用介质,有的压力控制器只适用于氟利昂制冷剂,有的则氨、氟通用;

(2)触头开关的容量,以便正确进行电气接线;

(3)正确进行压力设定和差动值设定。

(油)压差控制器:用润滑油泵吸排压差作为控制信号的电开关,当压差小于设定值时,使压缩机停车,起保护作用。

例,JC3.5型压差控制器参数及说明:

出厂接380V电源接头。若选用220V电源,将D1—X接线拆除,把X—D2接通,使降压电阻9短路。

调整方法:

1.转动调节轮4改变弹簧3张力,可改变压差调定值。

2.压缩机正常运行时,按下试验按钮6,达到延时时间(60±20s)后应停车。

3.运行时调低滑油压力,压差开关动作时,润滑油压力表和曲轴箱压力表的差值为压差继电器的压差调定值。

油压差控制器在安装使用时应注意:

(1)高、低压接口分别接油泵出口油压和曲轴箱低压,切不可接反。

(2)控制器本体应垂直安装,高压口在下,低压口在上。

(3)油压差等于油压表读数与吸气压力表读数的差值,不要误以油压表读数位就是油压差。

(4)油压差的设定值一般调整为0.15 ~ 0.2MPa。

(5)采用热延时的压差控制器,控制器动作过一次后,必须待热元件完全冷却(需5min左右)、手动复位后,才能再次起动使用。

水泵压力控制器应用:

控制过程:

连接示意图:

压力控制器检定周期一般不超过一年。

调试压力控制器时,首先需要了解自己使用的切换值是上切换值还是下切换值,对于切换差可调的压力控制器是否上下切换值需要同时满足要求。简单的说就是,需要压力上升时动作还是需要压力下降时动作或者是两者都需要满足。

不少类型控制器有切换值刻度窗口和切换差刻度窗口,但这类控制器的刻度窗口只能做为大致观测使用,切记不能作为调整设定点的标准和依据。

设定值为上切换值的调整方法:

选用设定范围在(0.05~2.5)MPa的控制器,要求上限切换值为2.0MPa。

1.松开锁紧器,将控制器旋入校验台的螺纹接口上;打开盖板,将电缆穿过电缆接口接入端子板,电缆另一头接上万用表;

2.加压至2.0MPa,此值可由标准压力表读出;顺时针转动设定值调节镙杆,使设定值由大变小,直至微动开关在2.0MPa处切换。

3.旋动锁紧器,调节校验台压力,使其在2.0MPa上下来回变化,校验压力上升时,切换值是否为2.0MPa,此值即为要求设定的上切换值,此值减去切换差(约0.085MPa)即为下切换值。

设定值为下切换值的调整方法:

同样选用设定范围在(0.05~2.5)MPa的控制器,但要求压力下降至1.8MPa(此值为下切换值)发出触点信号。

1.松开锁紧器,将控制器旋入校验台的螺纹接口上;打开盖板,将电缆穿过电缆接口接入端子板,电缆另一头接上万用表;

2.加压至1.8MPa,此值可由标准压力表读出;逆时针转动设定值调节镙杆,使设定值由小变大,直至微动开关在1.8MPa处切换。

3.旋动锁紧器,调节校验台压力,使其在1.8MPa处上下来回变化,校验压力下降时,切换值是否为1.8MPa,此值即为要求设定的下切换值,此值加上切换差(约0.85MPa)即为上切换值。

选型依据:

在压力开关的选用上主要依据:以被测介质的性质指标为准,以节约资金、便于安装和维护为参考。

如被测介质为腐蚀性的场合,必须考虑使用不锈钢等材质。

在选型时要考虑被测介质的温度,如果温度高一般为200℃~400℃,要采取缓冲方法,例如连接一根盘香式铜毛细管。

在选型时要考虑设备工作压力,压力等级必须与应用场合相符合。

从选用测量范围上来说,一般都具有一定的量程可调范围,最好将使用的量程范围设在它量程的1/4~3/4段,这样精度会有保证。

本文来源于互联网,暖通南社整理编辑。

相关问答

水处理上面的 压力 保护 开关 .一个是diff,一个是range.基准和范...

[最佳回答]参照lanjianghb的回答:“range为基准压,即你需要的基准压力值,diff为回差压,相对基准压的正负范围.例如:range调整为3kg/cm2,diff调整为1kg/cm2,则...

什么是 压力开关 ?它的工作原理?

压力开关是通过高精度仪表放大器放大压力信号,通过高速MCU采集并处理数据,内置精密传感器进行补偿,是检测压力、液位信号,实现压力、液位监测和控制的高精度...

制冷空调上面用的 压力 传感器、压力控制器、 压力开关 的区别和作用分别是什么?

关键是你要测量什么。通常在空调产品上面有压力开关和压力传感器两种“压力控制器”,压力开关只是一种根据冷媒实际压力值来控制空调机组运行状态的开关;而压...

压力开关 上面的L和T是什么意思,怎样接线?

压力开关上面的L代表线路,T代表调节。接线方法如下:1.首先,将电源线的火线(L)接入压力开关的L口。2.然后,将电动设备(如水泵)的火线接入压力开关的另...压...

水泵 电子压力开关 要怎么选择?

1水泵电子压力开关的选择需要根据具体情况而定,不能一概而论。2选择水泵电子压力开关需要考虑以下几个方面:a.水泵的功率和流量大小b.水泵的使用环境和...

常用的 压力 保护 开关 有?

1、空调压力开关是一个保护开关。现在车上常用的是三态开关。(1)低压保护开关:当空调系统有泄漏或制冷剂少时,为了保护压缩机不损坏,而强行让压缩机停止工...

压力开关 怎么调?

1.单位切换方法:按运行键,关闭运行指示灯,短时间按增加键可以将单位在MPa、Kg/cm、PSI之间随意切换。设置好后开启运行指示灯。2.零位清零功能:按运行键,关...

压力开关 如何启动?

压力开关使用方法:设置控制压力方法,短按运行键关闭系统;短按SET键设置控制上/下限;再按SET键将设定值存入芯片;按运行键开始工作。压力开关的工作原理当...

低压 压力开关 作用原理?

工作原理:是当系统内压力高于或低于额定的安全压力时,感应器内碟片瞬时发生移动,通过连接导杆推动开关接头接通或断开,当压力降至或升至额定的恢复值时,碟...

chyk100 压力开关 怎么设置?

我用过龙泉牌无塔供水器,直接调压力开关里边的弹簧,没有具体数值,看着调弹簧差值就行了。大弹簧调压力上限小弹簧调压力下限大弹簧上螺丝越松压力越小越紧压...

标签:

相关阅读